诚信经营 | 质量保证 致力于环境保护专用设备的科技型企业 研发和销售过滤设备、污水处理设备
全国服务热线:
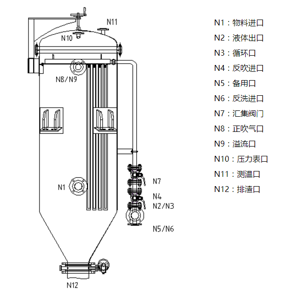
1、GL系列微孔过滤机又叫管式精密过滤机,该设备在立式密闭机体内悬挂PA/PE微滤管作为过滤介质,并在设备底部设有气动排渣口。单位体积内过滤面积大(如Φ2000的机体直径,内可装200m2过滤面积);立式结构,占地面积小(如200m2的微滤机,单台占地面积不超过5m2);除了单位面积大、占地面积小以外,主要解决将机外物料通过上部主过滤区快速过滤完,中部或底部的辅助过滤区能将机剩料一次过滤完,避免了物料的上下批号“混批”特别对精细化工或药厂尤为重要;
2、密闭过滤,清洁化生产;操作简便,气动排渣口的启闭只要几个阀门的操作就行;过滤管再生方便,对过滤管的反吹再生非常简便,只要开启反吹阀门即可完成。
3、“微孔过滤机”以高分子材料烧结成的聚乙烯PA/PE微滤管作为过滤介质,其毛细孔孔道细而弯曲,可过滤0.2微米以上的固体微粒,滤液清,只在起动时有一点穿滤,一旦形成薄薄的滤层后,很快变清。
4、PA/PE微滤管能耐酸、耐碱、耐醛、耐脂肪烃、耐放射性辐射等;化学性能很优良,耐有机溶剂的性能也很好,在110℃以下可耐酯酮、醚等有机溶剂;抗冲击强度好,不易损坏;比重轻容易安装。
5、已广泛使用于基础化工、精细化工、湿法冶金、化肥、制药、食品、环保等行业。适合于处理量大、含固量较高、且对滤饼干度有要求的精密过滤(如活性炭脱色液、催化剂、超细结晶体等的过滤)。

产品特点:
1.含固量较多且出干渣的精密液体过滤;
2.0.2μm以上颗粒一次滤住;
3.快捷的气体反吹下渣同时再生滤管;
4.化学性能优越的刚性的微孔PE、PA滤管能长寿命使用,大大降低运行费用;
5.密闭过滤,安全生产,无气味外溢,生产环境改善且占地面积小;
6.特殊设计的密封圈实现了大口径的气动排渣底盖的快速闭启;
7.易组成自动控制操作;
8.清理、维护方便、快速;
9.根据工艺要求可在机体外设保温夹套,机体内壁衬防腐材料层。
应用:
1、医药与食品生产上的粉末活性碳的精密过滤;
2、中草药药汁的精密过滤;
3、口服药液、针剂药液、滋补液、药酒等的精密过滤;
4、制药与食品用的糖浆的精密过滤;
5、酱油、醋等的精密过滤;
6、果汁(苹果汁、草莓汁、山楂汁等)的精密过滤;
7、医药与化工生产的铁泥过滤;
8、医药与精细化工生产上催化剂及其他超细微粒的过滤。